Магазин запчастей для бытовой техники - Arlos
Москва
close
Выберите ваш регион
АбаканАлександровАльметьевскАнгарскАрзамасАрмавирАртемАрхангельскАстраханьАчинскБалаковоБалашихаБеларусьБелгородБердскБерезникиБийскБлаговещенскБратскБрянскВеликий НовгородВидноеВладивостокВладикавказВладимирВолгоградВолгодонскВолжскийВологдаВолховВоркутаВоронежВоскресенскВыборгГатчинаГеленджикГрозныйДедовскДербентДзержинскДзержинскийДимитровградДмитровДолгопрудныйДомодедовоДонецкЕвпаторияЕгорьевскЕкатеринбургЕлецЕссентукиЖелезногорскЖелезнодорожныйЖуковскийЗеленоградЗлатоустИвановоИвантеевкаИжевскИркутскИстраЙошкар-ОлаКазаньКалининградКалугаКаменск-УральскийКамышинКаспийскКемеровоКерчьКировКисловодскКлинКовровКоломнаКомсомольск-на-АмуреКопейскКоролёвКостромаКотельникиКрасногорскКраснодарКраснознаменскКрасноярскКурганКурскКызылЛенинск-КузнецкийЛипецкЛобняЛыткариноЛюберцыМагнитогорскМайкопМалаховкаМахачкалаМиассМоскваМурманскМуромМытищиНабережные ЧелныНазраньНальчикНаро-ФоминскНахабиноНаходкаНевинномысскНефтекамскНефтеюганскНижневартовскНижнекамскНижний НовгородНижний ТагилНовокузнецкНовокуйбышевскНовомосковскНовороссийскНовосибирскНовоуральскНовочебоксарскНовочеркасскНовошахтинскНовый УренгойНогинскНорильскНоябрьскОбнинскОдинцовоОктябрьскийОмскОрелОренбургОрехово-ЗуевоОрскПавловский ПосадПензаПервоуральскПермьПетрозаводскПетропавловск-КамчатскийПодольскПрокопьевскПсковПушкиноПятигорскРаменскоеРеутовРостов-на-ДонуРубцовскРыбинскРязаньСакиСалаватСамараСанкт-ПетербургСаранскСаратовСевастопольСеверодвинскСеверскСергиев ПосадСерпуховСимферопольСмоленскСосновый БорСочиСтавропольСтарый ОсколСтерлитамакСтупиноСургутСызраньСыктывкарТаганрогТамбовТверьТихвинТольяттиТомилиноТомскТроицкТулаТюменьУлан-УдэУльяновскУссурийскУсть-ИлимскУфаУхтаФеодосияФрязиноХабаровскХанты-МансийскХасавюртХимкиЧебоксарыЧелябинскЧереповецЧеркесскЧеховЧитаШахтыЩелковоЭлектростальЭлистаЭнгельсЮжно-СахалинскЯкутскЯлтаЯрославль
  • - бесплатно по РФ
    Автоперезвон. Работает по принципу: Вы позвонили на номер, мы сбрасываем звонок и перезваниваем через 3 секунды.
  • - по Москве
  • 8 (925) 663-83-63

Call-центр

пн-вс: 10:00-19:00

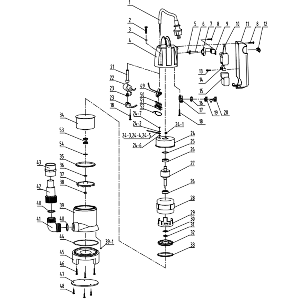
Насос дренажный ЗНПГУ-550

Данная модель имеет несколько схем

NАртикулНазваниеСрок отгрузкиЦенаКупить
1 U099-004-013 Шнур сетевой резин. 3х1,0мм 10м #F 480 р.
2 UM02-900-014 Саморез 4.5х30 PH2
3 UM04-900-001 Шайба D5 92 р.
4 N000-005-412 Корпус электродвигателя 561 р.
5 N000-005-413 Рычаг
6 N000-005-414 Кожух рычага
7 N000-005-415 Уплотнитель рычага
8 UM02-900-015 Саморез 4.5х21 PH2
9 N000-005-416 Скоба
10 N000-005-417 Поплавок большой
11 N000-005-418 Кожух поплавка 372 р.
12 N000-005-419 Переключатель режимов
13 UM02-900-017 Саморез 4х15 PH2
14 N000-005-420 Рычаг
15 N000-005-421 Поплавок маленький
16 V000-003-264 Микровыключатель HY50 10(8)А 250В 213 р.
17 N000-005-422 Кронштейн выключателя
18 UM02-000-039 Саморез 4x34 PH2 #F 92 р.
19 N000-005-423 Корпус выключателя
20 N000-005-424 Изолятор
21 U452-400-007 Воротник шнура #F 189 р.
22 U452-550-012 Конденсатор 8мкФ 450В CBB60 286 р.
23 U452-400-011 Планка прижима 189 р.
24-2 UM04-003-001 Шайба стопорная D4 92 р.
24-6 UM01-000-012 Винт M4x10 92 р.
35 U452-400-014 Уплотнение электродвигателя D92x5 286 р.
36 U532-401-024 Шайба (нерж.)
37 U452-551-015 Крыльчатка (8 лоп.00903023) 674 р.
38 UM05-901-002 Гайка М8 автогровер (нерж.)
39 N000-005-425 Корпус насоса
39-1 U352-102-016 Шарик стальной D6 84 р.
40 U452-400-019 Кольцо уплотнительное D42х3 92 р.
41 U452-400-020 Патрубок D48x72x72 189 р.
42 U452-400-021 Штуцер выходной D54x100 92 р.
44 U452-400-025 Кольцо уплотнительное D126х3 189 р.
45 N000-005-426 Основание насоса
46 UM02-900-016 Саморез 4х27 PH2
47 N000-005-427 Крышка
48 U452-400-008 Шайба прижима пласт. 94 р.
49 UM02-900-002 Саморез 4x16 Т20 #F 92 р.
50 V000-001-039 Двигатель переменного тока 550Вт 5.815 р.
Найдено товаров: 41
1
▲ Наверх
0
8 (925) 663-83-63

Call-центр

пн-вс: 10:00-19:00

НАЙТИ ПО МОДЕЛИ
Введите номер заказа
Введите номер своего заказа, что бы узнать его текущий статус.
Что бы получить доступ к расширенным функциям, пройдите не сложную регистрацию. Зарегистрироваться